30+ Info Terpopuler Tangga Luar Rumah
Juli 29, 2021
Tangga Depan Rumah , Model anak tangga teras depan rumah , Trik desain tangga rumah , Atap Tangga luar rumah , Tangga di luar untuk Rumah 2 Lantai , Desain rumah 2 lantai tangga di depan , Model tangga rumah minimalis , Tangga outdoor minimalis , Model Tangga Rumah Minimalis 2 Lantai , Rumah Minimalis Tangga Diluar , Cara membuat tangga teras rumah , Model tangga beton ,
30+ Info Terpopuler Tangga Luar Rumah - Pastikan dalam menetapkan dapur kecil dapat membuat menyegarkan tempat tinggal Anda. Dapur Kecil ialah salah satu bagian istimewa untuk dekorasi hunian harapan sekiranya yang memastikan konsep minimalis, modern ataupun mewah. Motif Tangga Luar Rumah yang dipilih haruslah disesuaikan dengan selera dan karakter orang yang mempunyai kediaman. Sehingga tidak menjadi ornamen pelengkap semata, sebaliknya Tangga Luar Rumah mampu menyuguhkan suasan nyaman yang dibutuhkan orang yang mempunyai rumah. Saat diaplikasikan di ruangan, motif dapur kecil pun tampil menjadi pusat perhatian. Selain itu, pola geometris yang nampak pada motif dapur kecil berhasil mengoptimalkan fungsi ruanngan rumah dengan efektif.
Bagaimana menciptakan perpaduan warna dan motif yang serasi dalam menentukandapur kecil?. Oleh karena itu diharap inspirasi Tangga Luar Rumah yang akan kita bagikan berikut ini dapat memberikan tambahan pengetahuan dan keahlian Anda tentang dapur kecil serta bisa memperingan anda dalam merancang rumah impian anda.Berikut yang kami sampaikan tentang dapur kecil dengan judul 30+ Info Terpopuler Tangga Luar Rumah.

Rumah Minimalis Tampak Depan Warna Cat Rumah 2022 Bagian . Sumber Gambar : content.co.id

Jual CAT TEMBOK VINILEX 25KG NIPPON PAINT VINILEX . Sumber Gambar : www.bukalapak.com

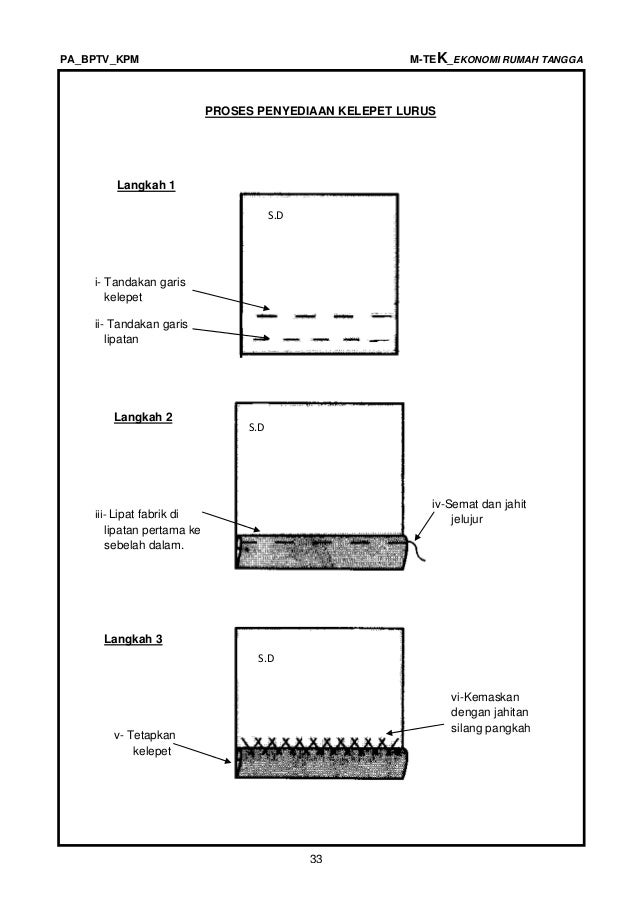
ekonomi rumah tangga ting 4 5 tahap 2 . Sumber Gambar : www.slideshare.net
23 Desain Dapur dan Ruang Makan Menyatu RUMAH IMPIAN . Sumber Gambar : sun-ebank.com

Jenis jenis Kaca untuk Rumah yang Wajib Anda Ketahui . Sumber Gambar : solusiruma.com
23 Desain Dapur dan Ruang Makan Menyatu RUMAH IMPIAN . Sumber Gambar : sun-ebank.com

Pelaku Ekonomi Pengertian dan Peran Pelaku Kegiatan Ekonomi . Sumber Gambar : www.maxmanroe.com

Struktur Rumah Tradisional Nusantara Minangkabau . Sumber Gambar : fadiahnurannisa.wordpress.com
Perhatian Untuk Membaca Label Produk Pangan . Sumber Gambar : linesvi.blogspot.com

Ramai Mahukan Saya Bercinta Dengan Kamal Adli Tapi . Sumber Gambar : www.rotikaya.com

Sharifah Haslinda Tarik Balik Permohonan Cerai . Sumber Gambar : www.rotikaya.com
Jenis Alat Kebersihan Rumah Dari Dulu Hingga Sekarang . Sumber Gambar : www.4muda.com